当转子引擎遇到电动机 能否复兴马自达的转子梦
还记得在2015年的东京车展上,马自达推出的一款全新的概念跑车么?没错,就是RX-VISION概念车,这款车被视为未来RX系列跑车的蓝本,该车最大的亮点正是搭载了一台代号为SKYACTIV-R的转子引擎,而这让不少人激动不已,纷纷揣测马自达复活转子引擎的计划,但之后却再无声息。如今,外媒又曝光了马自达在美国递交了一份关于转子引擎的专利申请,这是否预示着转子引擎“再次复活”?不管怎样,我们先来看看马自达这回的这招移花接木。

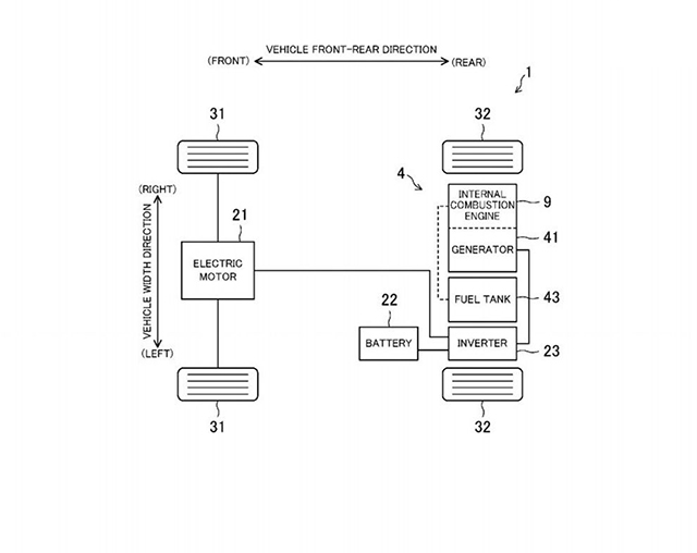
从外媒曝光的马自达在美国申请的最新专利来看,此次的专利图则分别向我们展示了马自达转子引擎的混动设想与转子引擎启停技术。马自达将转子引擎应用在其增程式混动系统上,而并不用于直接驱动车辆,这套增程式混动系统有些类似宝马i3增程版一样,转子引擎只用于给电池充电。也就是说马自达将利用转子引擎驱动电动机发电,从而为整个车辆提供能源。

据专利图显示,该混动系统前桥配备一台电动机,电池位于底盘中间位置。而内燃机、发电机、油箱及逆变器则被布置在了后桥位置,而专利图中零件编号为9的内燃机显然是一台转子引擎。据悉,该转子引擎的作用是在电池组电量不足时,转子引擎将点火运转、带动发电机发电,电能通过逆变器输入电池组,实现为电池组充电的目的。


而第二套专利是一个专门为转子引擎打造的自动启停系统。在不需要发动机介入的时候停止发动机运行。为了防止污染,这套系统会将转子停在特殊的位置,以保证完全关闭进气口,防止燃油、机油或者排放废气通过进气口溢出。由于转子引擎和四冲程发动机不一样,是没有进气出气气门结构的,进气出气完全依靠转子的位置完成。
这套系统对转子引擎非常重要。众所周知,转子引擎的高油耗是马自达一直以来难以攻克的问题之一,甚至被人们戏称“1.3(L)的排量,2.3(L)的动力,3.3(L)的油耗”。马自达的这项专利,在汽车不需要引擎工作时自动将其关闭,并继续使用火花塞点火,充分燃烧剩余可燃混合气,在保证燃油效率的同时改善排放问题。由此可见,马自达工程师们把油耗和尾气问题放在了首位。

转子引擎曾因无办法达到欧洲四号排放标准,再加上油耗大、磨损严重、使用寿命短、维护保养困难等一系列先天缺陷,随着RX-8的停产,曾经的辉煌一时的转子引擎也落下帷幕。自从RX-VISION概念车亮相后就再无新动作的马自达,在2016年底,马自达CEO Masamichi Kogai曾被媒体采访时说道:“马自达目前没有比Miata(MX-5)级别更高的跑车计划,更不用说一个全新的转子引擎了”。不过随后Kogai也提到,“如果要重启转子发动机,我们必须确保它不是惊鸿一瞥,我们需要让它满足排放法规,而且还要保证能提供足够的动力,这一切都还在研发阶段。”
看来这份最新专利的曝光,同时也表明马自达坚持了半个世纪的梦想并没有放弃,并且已经找到新的方法来弥补转子引擎的一些先天性缺陷。理论上,这两项专利的结合,可以极大的改善转子引擎的燃油效率及尾气排放污染的问题,如果马自达成功研制出了带有这项专利技术的转子引擎,那么这也将是转子引擎发展历程当中的一项重大突破。
写在最后:
转子引擎的优势、缺陷都足够明显,但马自达的工程师们坚持了几十年不曾放弃,为了转子引擎的“复活”马自达也是想尽一切办法,如今,在日趋严苛的排放标准,以及大力提倡节能减排的大环境中,借助新能源发展的大趋势或许能为转子引擎带来新的出路。随着现代技术的高速发展,变身成发电机的转子引擎,或将是一条走出困境的明路,相信“匠人”马自达能够让曾经辉煌的转子引擎再一次发光发热。




